Beth yw manyleb rheilffordd EN 13674-1 uic60?
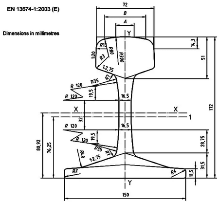
Yr EN 13674-1UIC60 (60E1) rheilfforddyn rheilen waelod dyletswydd trwm, 60.21 kg/m, wedi'i dylunio ar gyfer rheilffyrdd traffig cyflym a thrwm, wedi'i safoni gan safon EN 13674-1 Ewropeaidd. Mae manylebau allweddol yn cynnwys uchder 172 mm, sylfaen 150 mm, a lled pen 74.3 mm, a gynhyrchir yn nodweddiadol mewn graddau dur fel R260 neu R350HT.
-
Nodweddion Allweddol a Manylion Technegol

- Offeren: 60.21 kg/m
- Uchder Proffil: 172 mm
- Lled Sylfaen: 150 mm
- Lled Pen: 74.3 mm
- Trwch y We: 16.5 mm
- Ardal Adrannol: 76.70 cm²
- Mesurydd Safonol: 1435 mm
-
Deunydd a Gradd (fesul EN 13674-1)
Mae'r safon yn pennu graddau dur pearlite yn seiliedig ar galedwch:
- R260: Caledwch enwol 260 HBW (gwrthiant gwisgo safonol)
- R350HT: Caledwch enwol 350 HBW (gwres-wedi'i drin ar gyfer ymwrthedd traul uchel)
- Graddau eraill: R200, R220, R260Mn, R320Cr

| R200 | Eiddo Mecanyddol | Cyfansoddiad Cemegol | |||||||||||
| Cryfder cynnyrch | Cryfder tynnol | Elongation | Caledwch | C | Si | Mn | S | P | H ppm | O ppm | |||
| MPa | kg/mm² | MPa | kg/mm² | min | HB | Llai na neu'n hafal i | Llai na neu'n hafal i | Llai na neu'n hafal i | Llai na neu'n hafal i | ||||
| Yn fwy na neu'n hafal i 680 | 14% | 200-240 | 0.40-0.60 | 0.15-0.58 | 0.70-1.20 | 0.025 | 0.035 | 3 | 20 | ||||
| R260 | Eiddo Mecanyddol | Cyfansoddiad Cemegol | |||||||||||
| Cryfder cynnyrch | Cryfder tynnol | Elongation | Caledwch | C | Si | Mn | S | P | H ppm | O ppm | |||
| MPa | kg/mm² | MPa | kg/mm² | min | HB | Llai na neu'n hafal i | Llai na neu'n hafal i | Llai na neu'n hafal i | Llai na neu'n hafal i | ||||
| Yn fwy na neu'n hafal i 880 | 10% | 260-300 | 0.62-0.80 | 0.15-0.58 | 0.70-1.20 | 0.025 | 0.025 | 2.5 | 20 | ||||
| R260Mn | Eiddo Mecanyddol | Cyfansoddiad Cemegol | |||||||||||
| Cryfder cynnyrch | Cryfder tynnol | Elongation | Caledwch | C | Si | Mn | S | P | H ppm | O ppm | |||
| MPa | kg/mm² | MPa | kg/mm² | min | HB | Llai na neu'n hafal i | Llai na neu'n hafal i | Llai na neu'n hafal i | Llai na neu'n hafal i | ||||
| Yn fwy na neu'n hafal i 880 | 10% | 260-300 | 0.55-0.75 | 0.15-0.60 | 1.30-1.70 | 0.025 | 0.035 | 2.5 | 20 | ||||
| R350HT | Eiddo Mecanyddol | Cyfansoddiad Cemegol | |||||||||||
| Cryfder cynnyrch | Cryfder tynnol | Elongation | Caledwch | C | Si | Mn | S | P | H ppm | O ppm | |||
| MPa | kg/mm² | MPa | kg/mm² | min | HB | Llai na neu'n hafal i | Llai na neu'n hafal i | Llai na neu'n hafal i | Llai na neu'n hafal i | ||||
| Yn fwy na neu'n hafal i 1175 | 9% | 350-390 | 0.72-0.80 | 0.15-0.58 | 0.70-1.20 | 0.025 | 0.020 | 2.5 | 20 | ||||
Goddefiannau a Rheoli Ansawdd
Mae rheiliau 60E1 (UIC60) yn cael eu cynhyrchu i safonau EN 13674{-1 llym, gan sicrhau perfformiad uchel, trwm, a galluoedd rheilffordd cyflym iawn. Mae mesurau rheoli ansawdd allweddol yn cynnwys goddefiannau proffil wedi'u monitro â laser (dosbarth proffil X, dosbarth sythrwydd A), a gofynion llym ar gyfer glendid dur (degassing gwactod) a chaledwch (ee, R260, R350HT).
60E1 Goddefiannau Rheilffyrdd (EN 13674-1 / EN 13674-1:2011 + A1:2017)
- Goddefgarwch Proffil (Dosbarth X):Rheolaeth lem dros led pen (74.3 ± 0.5 mm), uchder (172 ± 0.5 mm), a lled sylfaen (150 ± 0.5 mm) i sicrhau cau perffaith.
- Syth (Dosbarth A):Laser{0}}wedi'i wirio am-berfformiad cyflymder uchel; goddefiannau llym ar anffurfiad fertigol ac ochrol.
- Hyd:12-25 metr fel arfer, gyda goddefiannau penodol ar yr union hyd.
- Drilio:Diamedr 33 ± 0.5 mm, gyda goddefiannau safle ar y we.
- Cyflwr Arwyneb:Defnyddir-diraddio gwasgedd uchel yn ystod y broses gynhyrchu i sicrhau gorffeniad arwyneb.
Mesurau Rheoli Ansawdd
- Cyfansoddiad Cemegol: Mae dur carbon manganîs uchel yn cael ei fonitro'n llym, yn aml gyda dad-nwyo gwactod a mireinio eilaidd i gael gwared ar amhureddau.
- Profion Mecanyddol: Dilysu cryfder tynnol (880 MPa ar gyfer R260), caledwch (260 HB neu 350 HB ar gyfer rheiliau wedi'u trin â gwres), a gwrthsefyll effaith.
- Arolygiad: Profion nad ydynt yn ddinistriol (NDT), megis profion cerrynt trolif, profion ultrasonic, a sganio laser i wirio am ddiffygion mewnol a chywirdeb dimensiwn.
RHEILFFORDD GNEEyn cymhwyso gweithdrefnau arolygu llym, gan gynnwys mesur proffil ac archwilio wyneb, i sicrhau pobrheilffordd uic60yn bodloni'r goddefiannau gofynnol cyn cyflwyno.
FAQ
C1: Beth yw EN 13674-1 ar gyfer rheilffyrdd UIC60?
A: Mae'n safon Ewropeaidd sy'n diffinio'r dimensiynau, graddau dur, priodweddau mecanyddol, a goddefiannau ar gyfer rheiliau UIC60 (60E1).
C2: A yw UIC60 yr un peth â rheilffordd 60E1 yn safonau EN?
A: Ydy, mae rheilffyrdd UIC60 a 60e1 yn cyfeirio at yr un proffil rheilffyrdd o dan wahanol systemau enwi.
C3: Beth yw pwysau safonol rheilffyrdd UIC60?
A: Y pwysau rheilffordd safonol 60e1 kg/m yw 60 kg y metr, fel y'i diffinnir gan EN 13674-1.
C4: Pam mae goddefiannau'n bwysig mewn manylebau rheilffyrdd?
A: Mae goddefiannau tynn yn sicrhau gosodiad cywir, lleihau traul, a chynnal aliniad trac dros amser.
C5: A yw rheiliau EN 13674-1 yn addas ar gyfer llinellau cludo nwyddau trwm?
A: Oes, gyda graddau dur priodol fel R350HT, gallant gefnogi llwythi trwm ac amodau anodd.
RHEILFFORDD GNEEcyflenwadau UIC60 a60e1 rheilyn unol ag EN 13674-1, gyda dimensiynau rheoledig, priodweddau mecanyddol wedi'u dilysu, ac ansawdd deunydd sefydlog. Gellir prosesu rheiliau i'r hyd gofynnol a'u cyflenwi â chydrannau cau cyfatebol i'w gosod yn uniongyrchol. Mae'r arolygiad yn cynnwys 60e1 o ddimensiynau rheilffyrdd, pwysau kg fesul metr, a chywirdeb proffil i sicrhau cydymffurfiaeth â gofynion safonol. Trefnir pecynnu a llwytho i amddiffyn rheiliau wrth gludo a thrin.Cysylltwch â GNEE RAILi gael cefnogaeth ar gyfer cyflenwad rheilffordd safonol EN a pharatoi prosiectau.

