A yw'r rheilffordd 60e1 yn union yr un fath â rheilffordd UIC60?
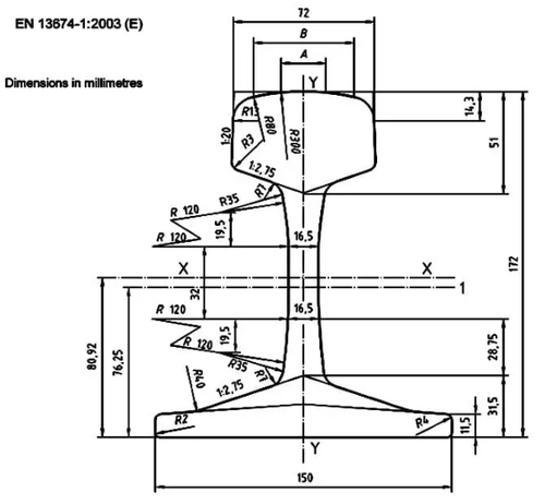
Ydy, mae'r rheilffordd 60E1 bron yr un fath â rheilffordd UIC60, gan eu bod yn aml yn cael eu defnyddio'n gyfnewidiol i gyfeirio at yr un proffil o dan safon Ewropeaidd EN 13674-1. Mae'r ddau yn rheiliau 60.21 kg/m gydag uchder o 172 mm a lled sylfaen 150 mm, wedi'u cynllunio ar gyfer rheilffyrdd cyflym a llwyth trwm.
Dimensiynau Unfath: Mae gan y ddau uchder o 172 mm, lled sylfaen o 150 mm, trwch gwe o 16.5 mm, a lled pen o 72.3 mm i 74.3 mm.
- Safoni: UIC 60 oedd y dynodiad gwreiddiol a ddatblygwyd gan Undeb Rhyngwladol y Rheilffyrdd, a 60E1 yw'r dynodiad swyddogol o dan safon Ewropeaidd EN 13674-1, a ddiweddarodd y proffil ar gyfer mwy o sefydlogrwydd.

| Safon UIC860 | |||||||
| Maint | Dimensiwn | Pwysau (kg/m) | Deunydd | Hyd (m) | |||
| pen (mm) | Uchder (mm) | Sylfaen | Gwe | ||||
| UIC54 | 70 | 159 | 140 | 16 | 54.43 | 900A/1100 | 12-25 |
| UIC60 | 72 | 172 | 150 | 16.5 | 60.21 | 900A/1100 | 12-25 |
- Pwysau: Mae'r ddau wedi'u dosbarthu fel rheiliau 60 kg/m (yn benodol, maent yn pwyso 60.21 kg/m).
- Defnydd: Fe'u defnyddir yn gyfnewidiol mewn-adeiladu rheilffyrdd safonol Ewropeaidd modern.
Beth yw'r deunyddiau a ddefnyddir yn gyffredin ar gyfer rheilffyrdd 60e1?
Mae deunyddiau a ddefnyddir yn gyffredin ar gyfer rheilffyrdd 60E1 (UIC 60), fel y nodir gan safon EN 13674-1, yn raddau dur carbon manganîs sydd wedi'u cynllunio ar gyfer gwydnwch uchel a gwrthsefyll traul. Y graddau mwyaf cyffredin yw R260 (dur pearlitig safonol) at ddefnydd cyffredinol a R350HT (wedi'i drin â gwres) ar gyfer traciau trwm neu draciau cyflym, gyda R200 a R260Mn yn cael eu defnyddio hefyd.

- R260 (Gradd Safonol): Dur carbon o ansawdd uchel heb aloi, sy'n cynrychioli'r dewis safonol ar gyfer prif linellau oherwydd ei gydbwysedd o galedwch (260-300 HBW) a chryfder.
| R260 | Eiddo Mecanyddol | Cyfansoddiad Cemegol | |||||||||||
| Cryfder cynnyrch | Cryfder tynnol | Elongation | Caledwch | C | Si | Mn | S | P | H ppm | O ppm | |||
| MPa | kg/mm² | MPa | kg/mm² | min | HB | Llai na neu'n hafal i | Llai na neu'n hafal i | Llai na neu'n hafal i | Llai na neu'n hafal i | ||||
| Yn fwy na neu'n hafal i 880 | 10% | 260-300 | 0.62-0.80 | 0.15-0.58 | 0.70-1.20 | 0.025 | 0.025 | 2.5 | 20 | ||||
- R350HT (Pen{1}}Caledu): Defnyddir y radd hon sydd wedi'i thrin â gwres ar gyfer ardaloedd straen uchel (cromliniau miniog, llwythi echel trwm), gan ddarparu cryfder tynnol uwch (mwy na neu'n hafal i 1175MPa) a chaledwch Brinell (350-390 HBW).
| R350HT | Eiddo Mecanyddol | Cyfansoddiad Cemegol | |||||||||||
| Cryfder cynnyrch | Cryfder tynnol | Elongation | Caledwch | C | Si | Mn | S | P | H ppm | O ppm | |||
| MPa | kg/mm² | MPa | kg/mm² | min | HB | Llai na neu'n hafal i | Llai na neu'n hafal i | Llai na neu'n hafal i | Llai na neu'n hafal i | ||||
| Yn fwy na neu'n hafal i 1175 | 9% | 350-390 | 0.72-0.80 | 0.15-0.58 | 0.70-1.20 | 0.025 | 0.020 | 2.5 | 20 | ||||
- R260Mn/R260MnCr: aloion a ddefnyddir i wella ymwrthedd traul.
| R260Mn | Eiddo Mecanyddol | Cyfansoddiad Cemegol | |||||||||||
| Cryfder cynnyrch | Cryfder tynnol | Elongation | Caledwch | C | Si | Mn | S | P | H ppm | O ppm | |||
| MPa | kg/mm² | MPa | kg/mm² | min | HB | Llai na neu'n hafal i | Llai na neu'n hafal i | Llai na neu'n hafal i | Llai na neu'n hafal i | ||||
| Yn fwy na neu'n hafal i 880 | 10% | 260-300 | 0.55-0.75 | 0.15-0.60 | 1.30-1.70 | 0.025 | 0.035 | 2.5 | 20 | ||||
Dewisir y deunyddiau hyn i drin màs 60E1 60.21 kg / m a darparu'r traul, blinder a weldadwyedd gorau posibl.
Sut i ddewis y deunydd cywir ar gyfer Rail 60e1?
Mae dewis y deunydd cywir ar gyfer rheilffyrdd 60E1 (UIC60) yn gofyn am gydweddu'r radd dur a'r driniaeth wres â'ch llwythi gweithredol, cyflymder ac amgylchedd, gan gadw at safonau EN 13674-1. Dewiswch radd R260 safonol ar gyfer llinellau teithwyr cyffredinol cyflymder uchel. Defnyddiwch -R350HT neu R350LHT wedi'i galedu ar y pen ar gyfer amgylcheddau tynnu trwm, traul uchel a chromlin dynn.
Ffactorau Allweddol ar gyfer Dewis Deunydd

- Uchel{0}}Cyflymder/Teithiwr Cyffredinol:Mae dur manganîs carbon safonol (R260 neu R260Mn) yn darparu'r cydbwysedd angenrheidiol o wrthsefyll traul, hydwythedd a chryfder.
- Rheilffyrdd Trwm-Haul/Minging/Port:Mae dur perlog cryfder uchel, fel R350HT neu R350LHT (pen-wedi'i galedu), yn hanfodol i drin llwythi echel uchel (hyd at 300 km/awr neu gargo eithafol) a lleihau blinder.
- Gofynion Caledwch:Dewiswch reiliau caled wedi'u caledu â'r pen (350-390 HBW) ar gyfer ymwrthedd traul uwch mewn cymwysiadau tynnu trwm, neu reiliau caled safonol (260–300 HBW) ar gyfer defnydd prif reilffordd safonol.
- Safonau Cydymffurfio:Sicrhewch bob amser fod y deunydd yn cwrdd â safonau EN 13674-1, sy'n cwmpasu priodweddau mecanyddol, cyfansoddiad cemegol, a goddefgarwch.
RHEILFFORDD GNEEyn darparu rheiliau UIC60 a 60E1 gyda dimensiynau rheilffyrdd 60e1 wedi'u dilysu, proffil, a phwysau kg y metr, gan fodloni safonau EN 13674-1 ac UIC 60 yn llawn. Mae rheiliau'n cael eu rholio, eu harchwilio, a gellir eu cyflwyno gyda chydrannau torri, drilio a chlymu cyfatebol. Mae hyn yn sicrhau gosodiad manwl gywir a pherfformiad trac hirdymor.Cysylltwch â GNEE RAILi gael cefnogaeth ar gyfer dilysu safonol, dewis rheilffyrdd, ac atebion cyflenwi cyflawn ar gyfer eich prosiect.

